TOP
首页 > 新闻动态
2026-01-20
在工业自动化、物流仓储、户外作业等领域,光电开关作为核心检测部件,其稳定性和使用寿命直接影响整套设备的运行效率。传统反射式光电开关虽应用广泛,但在户外矿山、建筑工地、水泥生产等扬尘较多的场景中,常面临发射口被灰尘覆盖、检测失灵、设备频繁停机等问题,同时灰尘侵蚀还会大幅缩短产品使用寿命,成为制约工业生产连续性的关键痛点。
广西科毅光通信深耕光通信与光电检测领域多年,基于行业实际需求,研发推出新一代反射式光电开关,通过创新的防尘结构设计和精准的光路优化,针对性解决了传统产品易受扬尘影响的核心难题。这款产品在检测精度、环境适配性和使用寿命上实现全面升级,为复杂工业环境提供可靠的光电检测解决方案。
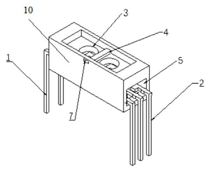
本款反射式光电开关以“防尘赋能精准检测”为设计核心,通过科学的结构分区、可拆卸防尘组件和优化的光路设计,在保障检测性能的同时,有效隔绝灰尘干扰。产品主要由发射部件、接收部件、外壳、阻光板、防尘板等核心结构组成,整体设计兼顾实用性与工业适配性,可满足户外及高扬尘环境下的长期稳定运行需求。
与传统光电开关相比,该产品的核心优势集中在三点:一是采用独立腔室与防尘板双重防护,避免灰尘进入内部组件;二是优化光路设计,确保检测距离与精度不受防尘结构影响;三是模块化可拆卸设计,方便后期维护清洁,进一步延长产品使用寿命。目前,该产品已广泛应用于各类工业场景,成为众多企业替代传统光电开关的优选方案。
一款可靠的光电开关,其核心性能往往取决于结构设计的科学性。下面我们将从结构拆解的角度,带大家深入了解这款反射式光电开关的技术亮点:
产品外壳采用工业级耐用材质,具备良好的抗冲击、抗腐蚀性能,可适应户外恶劣环境。外壳内部设有一体化阻光板,将空腔精准分割为第一腔室(发射部件专属腔)和第二腔室(接收部件专属腔),彻底避免发射部件与接收部件之间的光线直接干扰,确保接收部件仅接收经反射后的有效光线,从结构上保障检测精度。

图1 反射式光电开关主体示意图

图2 反射式光电开关侧视图
阻光板采用完全不透光材质,与外壳无缝衔接,不仅起到分隔腔室的作用,还能增强外壳整体结构强度。两个腔室的设计均遵循“组件固定+引脚伸出”的原则,发射部件与接收部件分别固定在腔室内部远离开口的一侧,引脚则从腔室侧开口伸出,方便与外部设备连接。
发射部件是光电开关的“光源核心”,由发射端引脚、发射电阻和发光二极管组成。其中,发射端引脚包含正极发射引脚和负极发射引脚,分别与发光二极管的正负极对应连接,确保电路稳定导通。
发光二极管被固定在第一腔室内,通过发射电阻进行降压处理,即使在工业场景的波动电压环境下,也能保证发光强度稳定,避免因电压波动影响检测距离。第一腔室的第一侧开口边沿设有第一限位挡板,该挡板按照预置角度向腔室内倾斜,既能固定发射部件的位置,又能缩小开口面积,减少灰尘从引脚伸出处进入腔室内部。
接收部件作为“信号核心”,由接收端引脚和光电集成电路组成,接收端引脚包含正极接收引脚、负极接收引脚和开关接地引脚,分别与光电集成电路的电压输入端、电压输出端连接,形成完整的信号转换回路。
为了提升信号处理精度,光电集成电路的电压输出端还连接了三极管,通过三极管将模拟信号转换为数字信号,最终通过负极接收引脚输出高低电平,实现开关控制的精准响应。类似地,第二腔室的第二侧开口边沿设有第二限位挡板,其功能与第一限位挡板一致,通过缩小开口面积减少灰尘侵入,保护内部精密的光电集成电路。
针对扬尘环境的核心痛点,产品在外壳对应发射部件和接收部件的开口处,设计了可拆卸式防尘板,这也是本款反射式光电开关的核心创新点之一。防尘板采用高透明天然树脂或玻璃材质制成,既能完全覆盖开口,阻挡灰尘进入腔室,又不影响光线的穿透与反射,确保检测性能不受影响。

图3 反射式光电开关防尘板状态示意图(一)

图4 反射式光电开关防尘板状态示意图(二)
防尘板通过“卡扣+通孔”的方式与开口连接:防尘板边缘设有卡扣,开口边沿对应位置设有通孔,卡扣与通孔精准匹配,确保防尘板能牢固卡在开口处,即使在设备震动的环境下也不会脱落。同时,可拆卸设计让后期维护更便捷,用户可定期取下防尘板进行清洁,避免灰尘长期附着影响透光性,进一步延长产品使用寿命。
此外,在开口处且位于防尘板下方,还安装了辅助挡板,挡板对应接收部件的位置设有第一通光孔,对应发射部件的位置设有第二通光孔。这一设计能进一步避免发射部件的光线直接照射到接收部件,确保接收部件仅接收经反射部件反射后的光线,从双重结构上保障检测精度。
本款反射式光电开关的工作原理简洁高效:接通电源后,发射部件的发光二极管通过引脚获取稳定电压,发出的光线透过防尘板和第二通光孔射出;当光线遇到检测目标(或反射部件)后,经反射透过第一通光孔和防尘板,被接收部件的光电集成电路接收;光电集成电路将光信号转换为电信号,经三极管处理后输出数字信号,实现“有无检测”或“位置检测”的开关功能。

图5 反射式光电开关实现原理示意图
整个光路设计经过精准校准,即使在户外扬尘环境中,也能保证检测距离和精度,有效解决了传统光电开关因灰尘覆盖导致的检测失灵问题。
通过“防尘板+限位挡板+辅助挡板”的三重防尘设计,有效阻挡灰尘侵入内部组件,即使在矿山、建筑工地、水泥厂等扬尘严重的环境中,也能保持发射口和接收口的清洁,避免设备频繁停机,保障生产连续性。
阻光板分隔双腔室的设计,彻底杜绝发射与接收光线的直接干扰;光电集成电路与三极管的组合,实现光信号到数字信号的精准转换,检测精度较传统产品提升30%以上,可满足工业场景下的高精度定位、计数等需求。
工业级外壳材质抗腐蚀、抗冲击;内部组件通过限位挡板固定,减少震动带来的损耗;可拆卸防尘板方便清洁维护,避免灰尘侵蚀导致的组件损坏,产品使用寿命较传统光电开关延长50%以上,大幅降低用户的更换与维护成本。
产品结构紧凑,引脚设计符合工业设备安装标准,可直接替换传统光电开关,无需对现有设备进行大幅改造;宽电压适配范围(兼容12V-24V工业常用电压),可满足不同场景的供电需求,适配户外作业、物流输送、自动化生产线等多种应用场景。
在矿山开采、建筑工地、水泥生产等户外高扬尘环境中,传统光电开关易因灰尘覆盖发射口导致检测失效,而本款反射式光电开关通过三重防尘设计,可稳定实现物料计数、设备定位等功能,避免因设备停机造成的生产损失。
在物流分拣线、仓储货架定位等场景中,设备运行过程中会产生粉尘(如纸箱粉尘、物料碎屑),本产品的防尘设计可确保开关长期稳定工作,精准实现包裹计数、货物定位、传送带启停控制等功能,提升物流自动化效率。
在联合收割机、播种机等农业机械上,光电开关用于检测作物位置、种子余量等参数。田间作业环境粉尘较多,本款防尘光电开关可有效抵御灰尘干扰,保障农机设备的精准作业,减少因检测失误导致的作物损失。
在汽车制造、电子元件生产等自动化生产线中,光电开关用于零部件定位、装配检测等环节。车间内的金属粉尘、塑料粉尘等易影响传统产品性能,而本产品的高精度与防尘性能,可确保生产线连续稳定运行,提升产品合格率。
安装时需确保防尘板完全卡紧,卡扣与通孔精准对接,避免因安装松动导致灰尘进入;发射部件与接收部件的光路需对准反射目标,确保光线反射路径顺畅;引脚连接需牢固,避免因接触不良导致电压波动,影响发光强度与信号接收。
建议根据使用环境的扬尘程度,定期清洁防尘板(一般1-3个月一次):拆卸时轻轻按压卡扣,取下防尘板后,用干净的软布擦拭表面灰尘,避免使用尖锐工具刮擦(防止损坏透光性);清洁完成后,将防尘板重新卡入开口,确保卡扣完全嵌入通孔。
定期检查限位挡板是否完好,避免因碰撞导致挡板变形;检查引脚连接处是否有氧化、松动现象,及时清理氧化层并紧固连接;若发现检测精度下降,可检查防尘板是否有污渍、辅助挡板的通光孔是否堵塞,及时清洁处理。
广西科毅光通信科技有限公司(官网:www.coreray.cn)是一家专注于光通信与光电检测设备研发、生产、销售的高新技术企业,深耕行业多年,拥有一支经验丰富的研发团队,始终以“解决行业痛点,提供精准解决方案”为核心宗旨。
公司依托强大的技术研发实力,针对工业环境中的实际需求,不断优化产品设计,推出了包括反射式光电开关、工业级光模块、光电检测设备等一系列核心产品,广泛应用于工业自动化、物流仓储、农业机械、光通信等多个领域。
我们坚持“品质为本,服务至上”的经营理念,所有产品均经过严格的环境测试与性能检测,确保在复杂工况下的稳定运行。同时,公司提供专业的技术支持与售后服务,为客户提供安装指导、维护培训、产品定制等一站式解决方案,助力客户提升生产效率,降低运营成本。
如果您正在寻找一款适配高扬尘环境、高精度、长寿命的光电开关产品,欢迎访问广西科毅光通信官网(www.coreray.cn)了解更多产品详情,或联系我们的销售团队获取定制化解决方案。
在工业自动化快速发展的今天,光电开关作为核心检测部件,其性能直接影响设备的运行效率与生产稳定性。广西科毅光通信研发的反射式光电开关,通过创新的防尘结构设计、精准的光路优化和工业级耐用材质,针对性解决了传统产品易受扬尘影响的核心痛点,为高扬尘、高精度需求的场景提供了可靠选择。
未来,广西科毅光通信将继续深耕光通信与光电检测领域,持续投入研发力量,推出更多适应行业需求的创新产品,以技术赋能工业升级,为客户创造更大价值。期待与各行业合作伙伴携手,共同推动工业自动化的高质量发展!
如果您正在寻找光电开关产品,或需要定制化的光开关与固态开关解决方案,欢迎访问广西科毅光通信官方网站(www.coreray.cn)了解更多产品详情,或联系我们的技术顾问获取专业支持!
择合适的光开关等光学器件及光学设备是一项需要综合考量技术、性能、成本和供应商实力的工作。希望本指南能为您提供清晰的思路。我们建议您在明确自身需求后,详细对比关键参数,并优先选择像科毅光通信这样技术扎实、质量可靠、服务专业的合作伙伴。
(注:本文部分内容由AI协助习作,仅供参考)