TOP
首页 > 新闻动态
2026-01-20
随着5G通信、数据中心建设、医疗探测设备等领域的快速发展,光通信系统对核心光器件的小型化、高速率、高可靠性提出了更为严苛的要求。光开关在光通信网络中的性能发挥与配套光发射组件的品质起着关键作用。科毅光通信(官网:www.coreray.cn)深耕光通信领域多年,专注于光开关、光发射组件等核心光器件的研发、生产与销售,近期成功推出基于新型封装技术的小体积光发射组件及多通道并行光器件,该产品已获得国家实用新型专利,有效解决了传统封装技术的诸多痛点,为光通信系统的高效运行提供了优质技术方案。
在光器件领域,TO(Transistor Outline)封装和BOX封装是目前应用最广泛的两种技术路径,前者凭借制造成本低、自动化程度高的优势成为主流选择,后者则以高频性能好、散热性较强的特点应用于特定场景。但在实际应用过程中,这两种传统封装技术均存在明显短板,制约了光器件性能的进一步提升:
传统TO封装制作的光发射组件(TOSA),信号传输链路采用“电路板--可伐底座--底座管脚--管座到热沉连接金丝--热沉--芯片键合金丝--芯片”的六级结构,链路长度较长且存在多个阻抗不连续点。当信号速率提升时,管脚与引线带来的寄生效应会导致信号能量反射、谐振,严重影响信号传输质量,难以满足高速光通信的需求。同时,TO封装的散热通道为“芯片--热沉--底座凸台--底座”,底座与凸台采用可伐合金材质,导热系数仅为17W/K,散热效率低下,高温环境下芯片性能易衰减,缩短器件使用寿命。此外,TO封装需通过电阻焊分别固定管帽与封焊管体,制作工序复杂,生产效率受限。
BOX封装的光发射组件通常需要配置TEC(热电制冷器)和热沉部件,通过垫高芯片使发光条对准壳体光口中心,这种结构在“非制冷芯片”场景中显得冗余,不仅增加了产品体积和制造成本,还降低了器件的集成度。同时,BOX封装的透镜采用胶粘工艺固定,当环境温度变化时,胶水会因热胀冷缩发生形变,导致光路偏移,进而造成光器件失效。此外,透镜与芯片载体(COC)均需严格控温,对使用环境的要求较高,限制了其应用场景的拓展。
面对传统封装技术的诸多痛点,广西科毅光通信结合多年光器件研发经验,创新性地推出了小体积光发射组件及多通道并行光器件,通过结构优化与工艺革新,实现了光器件性能的全方位提升。
广西科毅光通信研发的小体积光发射组件以“结构简化、性能提升、工艺优化”为核心设计理念,采用多项创新技术,有效解决了传统封装的弊端,其核心结构与技术亮点如下:
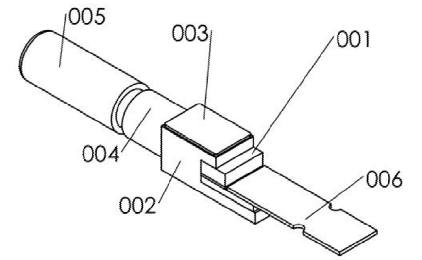
该光发射组件主要由管壳、绝缘基板、半导体激光器、透镜、适配器等核心部件组成。管壳采用方形金属或陶瓷材质,一端设有开口并固定绝缘基板实现密封,另一端通过调节环连接适配器,上端开口由盖板封堵,形成完整的气密封装结构。这种设计不仅大幅缩小了产品体积,还能有效隔绝外部环境对内部器件的影响,提升可靠性。
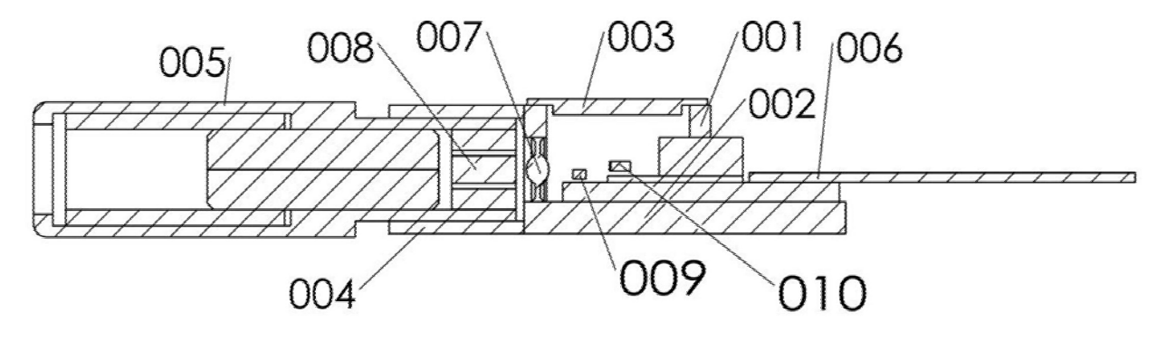
绝缘基板作为核心承载部件,采用多层陶瓷材料(ALN、AL2O3等)高温压合而成,底面与管壳底板烧结焊接,形成稳固连接。基板表面设有沿管壳纵向延伸的镀金层,一端位于管壳内部,另一端延伸至外部,实现管壳内外的高效电器连接。半导体激光器通过共晶焊固定在绝缘基板上,无需额外配置热沉与TEC部件,简化结构的同时缩短了散热路径。

图1 小体积光发射组件的外形图

图2 小体积光发射组件的截面图
为满足多器件集成与高效信号传输需求,绝缘基板采用多层台阶式结构,半导体激光器与背光探测器分别固定在不同基板层的上端面,各层基板均设有对应的镀金层(接地用、激光器连接用、MPD连接用),通过过孔或过渡镀金层实现电连接。这种设计充分利用纵向空间,避免了单层基板导致的器件长度增加问题,同时实现了半导体激光器、背光探测器与外部电路板的精准对接。
信号传输链路采用“柔性电路板--陶瓷基板--芯片键合金丝--半导体激光器”的四级结构,相较于传统TO封装的六级结构,链路长度大幅缩短,阻抗不连续点数量减少,高速信号在传输过程中的损耗与反射显著降低,确保了信号的完整性。外部电路板可采用柔性电路板或主板PCB,通过锡焊或金丝键合工艺与基板镀金层连接,适配不同应用场景的安装需求。

小体积光发射组件的陶瓷基板的结构示意图

图4 小体积光发射组件的陶瓷基板最底层结构示意图
透镜作为光信号传输的关键部件,采用熔融压铸工艺与管壳直接固定,形成气密结构,无需胶水粘接或额外焊接。这种工艺不仅简化了制作流程,还避免了传统BOX封装中胶水热胀冷缩导致的光路偏移问题,确保了透镜与半导体激光器的相对位置稳定性,提升了光信号耦合效率。
透镜可根据应用需求选择汇聚透镜或准直透镜:汇聚透镜可直接将半导体激光器发出的发散光转化为会聚光,耦合至适配器的光纤中;准直透镜则将发散光转化为平行光,配合准直适配器使用,适配长距离传输场景。适配器内部设有隔离器,能有效减少光纤端面反射的光进入半导体激光器,避免信号干扰。
散热性能是影响光器件稳定性与寿命的关键因素。该光发射组件创新采用“半导体激光器--陶瓷基板--金属管壳”的散热通道,陶瓷基板(ALN材质)的导热系数高达220W/K,金属管壳采用钨铜等高热导率材料(导热系数200W/K),相较于传统TO封装的可伐合金(17W/K),导热效率提升10倍以上。同时,散热通道大幅缩短,热阻显著降低,能快速将芯片工作时产生的热量导出,有效控制芯片温度,确保高温环境下的稳定运行,延长器件使用寿命。
基于核心技术平台,广西科毅光通信推出了四大系列产品,分别适配不同场景的应用需求,形成了完整的产品矩阵:
该系列产品采用标准适配器与调节环连接结构,透镜熔融固定在管壳端面,半导体激光器与背光探测器集成于多层陶瓷基板,支持高速信号传输与光功率实时监控。产品体积小巧,气密封装性能优异,适用于常规光通信设备、数据中心光模块等场景,可与光开关配套使用,实现光信号的高效发射与控制。
针对长距离传输需求,该系列产品采用V形槽基板替代传统调节环与适配器组合,光纤通过耦合工艺固定在V形槽基板上,另一端连接尾纤适配器,激光经透镜汇聚后通过光纤直接传输至目标设备。V形槽基板与半导体激光器之间设有方形隔离器,进一步提升抗反射干扰能力,适用于医疗探测设备、远距离光传感系统等场景。

图6 标准型小体积光发射尾纤型光发射组件的结构示意图
该系列产品在标准型基础上,于管壳底板下端面增设热电制冷器(TEC),可精准控制器件整体温度,适配高温、温差波动大的极端应用环境。同时,适配器圆周壁设有凹槽并填充隔热胶,减少外部热量传导至管壳内部,确保半导体激光器工作温度稳定。产品适用于工业级光通信设备、户外基站光模块等场景。

带TEC制冷功能的光发射组件的结构示意图
为满足数据中心、5G核心网等场景的高速并行传输需求,该系列产品由至少两个标准型光发射组件并排组成,所有组件共用一块电路板,绝缘基板均与电路板固定连接,实现多通道光信号的同步发射。产品集成度高,传输速率快,可大幅提升光通信系统的带宽与传输效率,是高密度光模块的核心配套器件。

多通道并行光器件的结构示意图
广西科毅光通信研发的小体积光发射组件及多通道并行光器件,相较于传统产品具有显著优势,为光通信行业带来多重价值:
1. 高速率传输:信号传输链路短、阻抗连续,支持更高速率信号传输,满足5G、数据中心的高速通信需求;
2. 高可靠性:透镜熔融封装、气密封装结构,光路稳定,抗环境干扰能力强,使用寿命长;
3. 高效散热:陶瓷基板+金属管壳的高导热设计,热阻小,高温性能稳定;
4. 小型化集成:简化结构设计,体积远小于传统BOX封装产品,适配高密度集成场景。
1. 简化生产工序:无需电阻焊固定管帽与封焊管体,透镜熔融压铸一次成型,生产效率提升30%以上;
2. 降低物料成本:省去TEC、热沉等冗余部件,减少核心物料使用,成本降低20%-25%;
3. 适配自动化生产:结构设计标准化,可实现共晶焊、金丝键合、平行封焊等工序的自动化操作,保证产品一致性。
该系列产品的推出,不仅填补了小型化、高速率光发射组件的技术空白,还为光开关、光模块等核心光器件的性能升级提供了支撑。其应用场景涵盖:
1. 光通信领域:5G基站、数据中心、光纤宽带网络,与光开关配套实现光信号的高效传输与灵活调度;
2. 医疗设备领域:医疗探测仪、激光治疗设备,凭借高稳定性与小型化优势,适配医疗设备的精密设计需求;
3. 工业探测领域:工业激光传感、远距离探测设备,耐高低温、抗干扰的特性确保恶劣环境下的稳定运行;
4. 其他领域:航空航天、国防通信等对光器件性能要求严苛的场景。
科毅光通信始终以技术创新为核心竞争力,专注于光开关、光发射组件、多通道并行光器件等产品的研发与生产。公司拥有一支由资深工程师组成的研发团队,具备从核心技术研发、产品设计到批量生产的全链条能力,已获得多项国家专利认证,技术水平处于行业领先地位。
公司官网(www.coreray.cn)提供详细的产品介绍与技术参数,客户可通过官网了解光开关、光发射组件等产品的最新动态,也可联系在线客服获取定制化解决方案。我们坚持“品质第一、客户至上”的服务理念,为全球客户提供优质的光器件产品与专业的技术支持,助力光通信行业的快速发展。
在光通信技术高速发展的今天,小型化、高速率、高可靠性已成为光器件的核心发展趋势。广西科毅光通信推出的小体积光发射组件及多通道并行光器件,通过结构创新与工艺优化,有效解决了传统封装技术的痛点,为光开关等核心光器件的性能升级提供了有力支撑。未来,公司将持续深耕光通信领域,不断推出更具竞争力的光器件产品,为5G、数据中心、医疗设备等领域的发展注入新动力,与全球客户携手共建高效、稳定的光通信生态。
如需了解更多产品详情,欢迎访问广西科毅光通信官网(www.coreray.cn)或联系我们的销售团队,我们将为您提供专业的咨询与服务!