TOP
首页 > 新闻动态
2025-12-27
保偏光纤是一种能维持光偏振状态的特种光纤,广泛应用于高精度光纤传感、相干光通信及量子通信等领域。在实际应用中,保偏光纤常需与光隔离器配合使用,以防止反射光对光源造成干扰。
由于保偏光纤具有快慢轴之分,其与光隔离器的耦合必须确保慢轴与光隔离器的光输入方向严格平行,这对耦合工艺提出了极高要求。
技术背景与行业挑战
光隔离器性能直接影响整个系统的稳定性。
在众多应用场景中,尤其是使用保偏光纤的系统中,光隔离器的耦合质量成为制约系统性能的关键因素。保偏光纤通过其特殊的应力区设计,能够维持线偏振光的偏振状态。
在实际应用中,必须确保保偏光纤的慢轴与光隔离器的光输入方向完全平行,任何角度偏差都会导致偏振相关损耗增加,降低系统性能。传统的耦合方法依赖操作人员的经验,存在效率低、一致性差等问题,难以满足批量生产的需求。

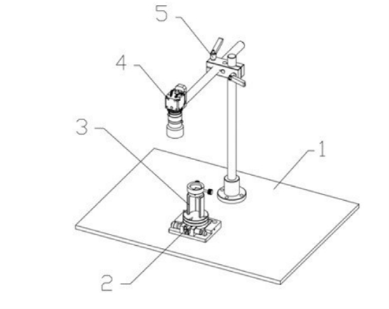
图1:保偏光纤与光隔离器耦合装置立体结构示意图
行业急需一种能够提高耦合精度、保证产品一致性的工艺方法和专用装置。这一问题不仅关系到单个器件的性能,更影响着整个光通信系统的可靠性与稳定性。
创新耦合装置结构
我们研发了一套专门用于保偏光纤与光隔离器耦合的装置系统。该装置通过机械结构与光学监测的巧妙结合,实现了高精度、高效率的耦合工艺。
装置核心由三个部分组成:夹持机构、CCD相机监测系统和调整支架。夹持机构负责固定保偏光纤和光隔离器,CCD相机提供实时视觉反馈,调整支架则确保整个系统的稳定性与可调性。
夹持机构进一步细分为旋转台和夹持组件。旋转台采用高精度手动位移台,通过千分尺进行微调,可实现极小角度的精确旋转。这一设计解决了保偏光纤慢轴方向调整的精度问题。

图2:夹持机构立体结构示意图
夹持组件采用三层结构设计:固定座、夹持端盖和限位端盖。固定座设有台阶限位孔,专门用于竖直插设带有LC型连接器的保偏光纤;夹持端盖则通过限位通孔与固定座配合,将保偏光纤稳固夹持。
最上层的限位端盖设计独特,设有限位缺口和直角阴角,专门用于精确定位光隔离器。这种物理限位方式,确保了每次耦合时光隔离器都能以相同方位放置,大大提高了产品的一致性。
耦合工艺流程
该耦合工艺采用分步操作法,每一步都有明确的标准和检查点,确保整个过程的可控性和可重复性。首先需要将带有LC型连接器的保偏光纤竖直插入固定座的台阶限位孔中。
这一步骤中,LC连接器完全沉入台阶孔底部,通过物理接触确保了光纤的垂直度。随后安装夹持端盖,通过第二紧固螺栓将其固定在固定座上,此时保偏光纤的上端会凸出夹持端盖顶部,为后续的光隔离器安装预留空间。

图3:夹持组件夹持保偏光纤时的俯视图
第二步是调整CCD相机焦距,使保偏光纤端面清晰显示在监视器中。这一步骤至关重要,因为只有清晰的图像才能保证后续角度调整的准确性。CCD相机从正上方拍摄,避免了视角误差。
第三步是通过旋转台调整保偏光纤的慢轴方向。操作人员根据CCD相机显示的图像,缓慢旋转千分尺,使慢轴旋转至目标方位。这一过程需要耐心和精细操作,通常需要多次微调才能达到理想位置。
核心技术创新
该耦合装置的核心创新在于机械限位与光学监测的有机结合。传统方法往往依赖操作人员的经验和眼力,而本装置通过物理限位结构和实时视觉反馈,将主观因素对耦合质量的影响降至最低。
限位端盖上的直角阴角设计尤为巧妙。由于光隔离器通常为矩形截面,直角阴角能完美贴合其两侧,确保每次放置时光隔离器都处于相同方位。这一简单而有效的设计,解决了光隔离器方向一致性的难题。

图4:限位端盖立体结构示意图
装置采用模块化设计理念,固定座、夹持端盖和限位端盖均可快速拆卸更换。这种设计不仅便于维护清洁,还能适应不同型号的保偏光纤和光隔离器,提高了设备的通用性和灵活性。
旋转台采用精密机械结构,最小旋转角度可达0.1度,满足保偏光纤慢轴调整的精度要求。同时,旋转台配有锁紧机构,调整到位后可以固定位置,防止在后续操作中发生偏移。
实际应用效果
在实际生产环境中,该耦合装置表现出显著的优势。首先在耦合效率方面,相比传统手工方法,使用该装置可将单件产品的耦合时间缩短约40%,大幅提高了生产效率。
在产品良率方面,装置的应用使耦合产品的一次合格率从传统方法的约85%提升至98%以上。这主要归功于装置提供的精确物理限位和实时视觉反馈,减少了人为操作误差。

图5:保偏光纤与光隔离器耦合时的立体结构
从长期稳定性角度评估,使用该装置耦合的产品在温度循环测试和振动测试中表现优异。偏振相关损耗在-40°C至85°C的温度范围内变化小于0.2dB,满足绝大多数严苛环境下的使用要求。
该装置的操作学习曲线较为平缓,新操作人员经过短期培训即可掌握基本操作技巧。标准化的工作流程减少了操作人员的技能差异对产品质量的影响,有利于企业人才培养和产能扩张。
保偏光纤与光隔离器耦合装置对光开关系统的意义
光开关作为光通信网络中的关键设备,其性能直接影响网络的灵活性和可靠性。在基于保偏光纤的光开关系统中,每个通道都可能需要配置光隔离器以防止反射干扰。
传统的手工耦合方法难以保证大批量生产中每个光隔离器耦合质量的一致性,这可能导致光开关各通道间的性能差异,影响整体系统性能。采用本装置后,可以确保每个光隔离器都以相同的高标准耦合到保偏光纤上。
对于矩阵光开关这类多通道设备,通道间的一致性尤为重要。使用本装置可以保证所有通道的光隔离器耦合损耗和偏振相关损耗基本一致,提高整个设备的性能均衡性。

图6:旋转台立体结构示意图
在可重构光分插复用器(ROADM)等动态光网络中,光开关需要频繁切换状态。高质量的保偏光纤与光隔离器耦合可以降低插入损耗和偏振相关损耗,提高信号质量,延长无中继传输距离。
随着400G、800G高速光通信系统的发展,对光开关性能的要求越来越高。采用高精度的保偏光纤与光隔离器耦合技术,将成为提升下一代光开关系统性能的关键支撑技术之一。
随着5G网络建设和数据中心互连需求的持续增长,市场对高性能光开关的需求将不断扩大。采用先进的保偏光纤与光隔离器耦合技术,不仅能提升单个器件的性能,更能增强整个光通信系统的稳定性和可靠性。
未来,随着自动化程度的提高,这种耦合装置有望与机器人技术结合,实现全自动的保偏光纤与光隔离器耦合生产线,进一步提高生产效率和产品一致性。
对于光通信设备制造商而言,投资此类先进工艺装备不仅是提升产品竞争力的需要,更是适应行业技术发展趋势的必然选择。在技术创新驱动发展的今天,工艺的精细程度往往决定了一个企业能在行业中走多远。
择合适的光开关等光学器件及光学设备是一项需要综合考量技术、性能、成本和供应商实力的工作。希望本指南能为您提供清晰的思路。我们建议您在明确自身需求后,详细对比关键参数,并优先选择像科毅光通信这样技术扎实、质量可靠、服务专业的合作伙伴。
如果您对磁光开关产品有需求,或想了解更多光通信相关产品信息,访问广西科毅光通信官网www.coreray.cn浏览我们的光开关产品,或联系我们的销售工程师,获取专属的选型建议和报价!
(注:本文部分内容由AI协助习作,仅供参考)