首页
产品
新闻动态
荣誉资质
关于我们
人才招聘
联系我们
返回科毅光通信官网页面头部

TOP

首页 > 新闻动态

光纤激光器技术新突破:减少熔接点提升效率,光开关协同应用前景广阔

2026-02-09

在激光加工领域,高功率光纤激光器凭借其优异的光束质量、高效稳定的性能,已成为现代工业加工的核心部件。随着技术的不断进步,如何进一步提升光纤激光器的激发效率与可靠性,成为行业关注的重点。


01 技术背景

随着工业制造向高精度、高效率方向发展,光纤激光器在金属切割、焊接、航空航天等领域的应用日益广泛。当前市场上主流的高功率光纤激光器多采用全光纤结构,以增益光纤作为核心增益介质。

在传统的设计方案中,泵浦光需要通过多个熔接点进入谐振腔,这一过程容易导致光纤波导结构损伤。光能量在损伤点泄露,不仅降低谐振腔的激发效率,还可能因局部过热导致器件损坏。

光纤激光器的稳定性直接影响整个激光加工系统的表现,尤其是在与光开关等光控制器件协同工作时,对光源的可靠性和光路完整性提出了更高要求。

因此,业界一直在寻求能够减少熔接点、降低光损耗、提升整体效率的光纤激光器设计方案。

02 创新设计解析

近期,一项由国内激光技术领先企业提出的实用新型专利,为我们提供了一种新的技术思路。该方案通过对光纤激光器内部结构的优化,显著减少了熔接点数量,从而降低了波导损伤风险,提升了激光输出效率。

其核心设计包括以下几个部分:

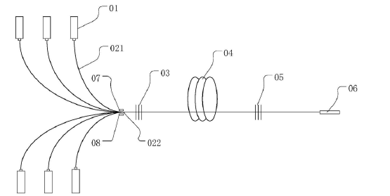
泵浦光源合束结构谐振腔以及输出头。其中,合束结构的设计尤为关键,它包含一个或两个汇聚点,并通过多个分支光纤与泵浦光源连接。

谐振腔由增益光纤和两个光纤光栅构成。增益光纤两端分别与第一光纤光栅和第二光纤光栅连接。输出头则通过其中一个光纤光栅与增益光纤相连,实现激光输出。

该设计的创新点在于:

直接在增益光纤上制作光纤光栅,而非通过熔接方式附加。这样一来,传统方案中光栅与增益光纤之间的熔接点得以消除,从根本上减少了因熔接导致的光泄露和结构弱化。

汇聚点的设置也具有灵活性,可根据实际应用需求,将其置于谐振腔内部或外部,以平衡结构紧凑性与工艺可行性。

光纤激光器结构示意图 — 科毅光通信
图1:光纤激光器结构示意图


03 关键技术细节与优势

技术中有多种实施方式。例如,第一光纤光栅可以是高反光栅或低反光栅,汇聚点可选择设在谐振腔内或腔外。

在具体工艺上,分支光纤通过拉锥熔接的方式接入汇聚点,这种方法能更好地控制光耦合效率,提升泵浦光的注入效果。

值得一提的是,该设计还考虑了实时监测机制。可在汇聚点处设置光电传感器或温度传感器,实时检测光强与温度变化。

一旦检测到信号异常,系统可自动关断,防止设备损坏,这大大增强了光纤激光器在长时间、高负荷工作环境下的可靠性。

对于光开关系统集成而言,这样稳定且高效的光源,能够更好地配合光开关实现多路光信号的精准调度与分配,提升整个光通信或加工系统的响应速度与稳定性。


04 行业应用与协同价值

这项技术的意义不仅在于提升了单台光纤激光器的性能,更在于它为高功率激光系统的模块化、集成化发展提供了新的可能。

在工业激光加工设备中,激光源常需要与光开关、合束器、隔离器等无源器件配合使用。一个损耗更低、更稳定的激光源,意味着下游光路中的光开关等器件能工作在更理想的光功率范围内,延长器件寿命,降低系统维护成本。

此外,在光纤传感、激光雷达、医疗激光等领域,对光源的线宽、噪声、稳定性要求极高。该专利所倡导的“减少熔接点”理念,有助于实现更高纯度的光信号输出,为高端应用提供了技术储备。

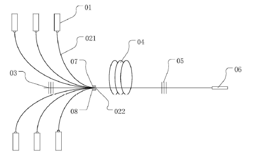
光纤激光器另一种结构示意图 — 科毅光通信
图2:光纤激光器另一种结构示意图


05 未来展望

可以预见,未来光纤激光技术的发展将继续朝着高效率、高可靠性、高集成度的方向迈进。直接光栅刻写技术、低损耗熔接工艺、智能监控系统的结合,将成为产品竞争力的关键。

对于像我们广西科毅光通信科技有限公司这样的光器件供应商而言,紧跟光源技术的发展趋势至关重要。我们的光开关、波分复用器等产品,必须与前沿的光源技术相匹配,才能为客户提供真正高效、稳定的系统解决方案。

我们将持续关注光纤激光器、放大器等有源器件领域的技术进展,确保我们的光开关产品在插入损耗、响应速度、通道一致性等指标上,能够完美适配新一代激光系统,共同推动光通信与激光加工行业向更高水平发展。


择合适的光开关光学器件光学设备是一项需要综合考量技术、性能、成本和供应商实力的工作。希望本指南能为您提供清晰的思路。我们建议您在明确自身需求后,详细对比关键参数,并优先选择像科毅光通信这样技术扎实、质量可靠、服务专业的合作伙伴。

 

访问广西科毅光通信官网www.coreray.cn浏览我们的光开关产品,或联系我们的销售工程师,获取专属的选型建议和报价!

(注:本文部分内容由AI协助习作,仅供参考)