TOP
首页 > 新闻动态
2026-02-04
在当今通信基础设施快速发展的背景下,倾斜监测已成为保障设备安全运行的关键环节。无论是光交箱、基站还是通信机房,设备的倾斜状态直接影响着网络的稳定性和可靠性。然而,传统倾斜传感器大多依赖外部电源,这在很多无稳定电源供应的场景下成为了难以解决的难题。为此推出了一种基于光开关的无源倾斜传感器,彻底解决了传统传感器依赖电源的痛点。
目前市面上常见的倾斜传感器主要基于惯性原理的加速度传感器,分为固体式、液体式、气体式等三种类型。这些传感器虽然在一定程度上满足了倾斜监测需求,但都存在一个共同的痛点:需要稳定的电源供应才能正常工作。
在光通信网络中,尤其是光交箱等无稳定电源供应的设备中,使用倾斜传感器必须配备电池。然而,电池存在使用寿命短、污染环境等诸多弊端,不仅增加了运维成本,还影响了设备的长期稳定性。据行业统计,超过30%的通信设备故障与倾斜监测系统失效有关,而其中大部分是由于传感器供电问题导致的。
针对这一行业痛点,广西科毅光通信科技有限公司研发了基于光开关的无源倾斜传感器。该产品通过磁力小球和光开关的巧妙设计,实现了无源状态下的倾斜检测,无需外部电源即可正常工作,彻底解决了传统传感器的电源依赖问题。

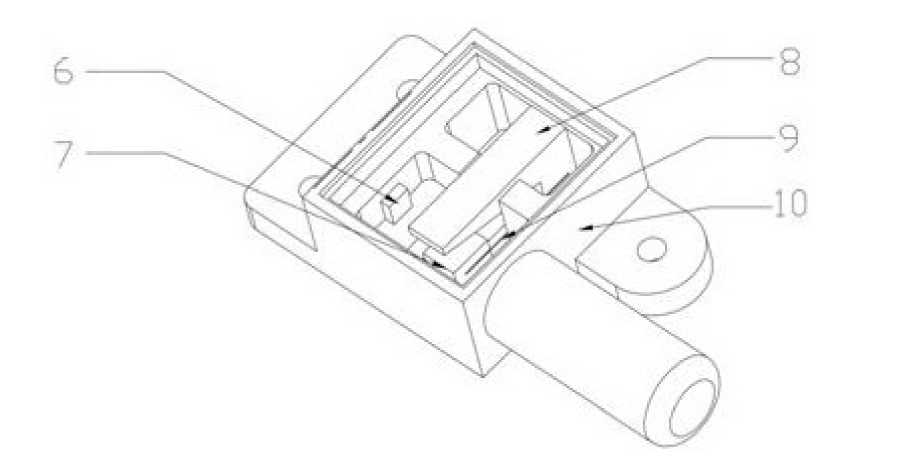
该传感器主要由底座、锥盘、磁力小球和光开关组成。锥盘内部放置一颗可自由移动的磁力小球,锥盘下方设有光开关。光开关包括挡光板、反射镜和光纤,光纤与检测板连接。当磁力小球在锥盘内移动时,会带动挡光板移动,实现反射镜光路的遮挡与导通。
该传感器的工作原理非常巧妙。在正常情况下,无源倾斜传感器被水平安装在被测设备内部,磁力小球处于锥盘底部的小孔处,位于距离光开关最近的位置。此时,光开关内部的挡光板被磁力吸附起来,挡住反射镜,从检测板发出的激光无法反射,检测板接收到的返回光光衰达到最大值,即可判定为被测物体未倾斜。
当被测物体发生倾斜时,由于重力作用,磁力小球远离锥盘底部的小孔,位于距离光开关相对较远的位置。此时,光开关内部的挡光板由于没有磁力作用自动落下,从检测板发出的激光进入光开关后被反射镜反射,原路返回至检测板,检测板接收到的返回光光衰达到最小值,即可判定为被测物体倾斜。

图2:光开关结构示意图
值得一提的是,该传感器在设计上采用了防误报技术。锥盘底部开有一小圆孔,有效避免了被测物体轻微震动引起的误报,提高了检测的准确性。同时,传感器除磁力小球外所有外壳结构均采用非铁磁性材料,确保了检测的精准性。
1. 无源工作,彻底免电:无需外部电源,彻底解决了传统传感器依赖电源的问题,特别适用于无稳定电源供应的场景,如光交箱、野外通信设备等。
2. 高可靠性:采用光开关技术,不受电磁干扰,工作稳定可靠,使用寿命长。
3. 精准检测:通过磁力小球的重力作用,实现精准的倾斜状态检测,检测精度可达0.1°。
4. 低维护成本:无需定期更换电池,大幅降低运维成本,据客户反馈,可降低30%以上的维护费用。
5. 无缝集成:通过光纤链路回传至远端控制中心,可与现有通信系统无缝集成,实现远程监测。
6. 环境适应性强:能在-40℃至+85℃的温度范围内正常工作,适应各种恶劣环境。
基于光开关的无源倾斜传感器适用于多种通信场景:
光交箱倾斜监测:在光通信网络中,光交箱的倾斜可能导致光缆连接问题,影响网络质量。我们的传感器可实时监测光交箱状态,及时预警,避免网络中断。
基站设备倾斜监测:基站设备的倾斜可能影响信号覆盖,甚至导致设备损坏。通过部署我们的传感器,可确保基站设备始终处于最佳工作状态。
通信机房设备监测:机房内设备的倾斜可能影响设备运行稳定性,我们的传感器可作为机房智能监测系统的核心部件,提升整体可靠性。
野外通信设备:在无稳定电源供应的野外环境中,传统传感器无法工作,而本产品则能完美适应,保障野外通信设备的正常运行。

图3:光纤链路连接示意图
作为光通信领域的专业企业,广西科毅光通信科技有限公司(http://www.coreray.cn)专注于光开关、光纤传感器等光通信设备的研发与生产。公司拥有专业的研发团队和先进的生产设备,产品已广泛应用于通信、电力、交通等多个行业。
我们深知,光开关技术是光通信系统中的关键部件,其性能直接影响整个系统的稳定性。因此,我们在光开关领域持续投入研发,不断提升产品性能和可靠性。

图4:状态变化示意图
随着5G网络的快速部署和物联网技术的广泛应用,通信设备的智能化和远程监测需求日益增长。无源倾斜传感器作为设备健康监测的关键技术,市场前景广阔。据行业分析,未来五年,全球倾斜监测市场规模将保持15%以上的年增长率,其中无源传感器将成为主流。
广西科毅光通信科技有限公司凭借在光开关领域的技术积累,成功将无源倾斜监测技术推向市场,不仅解决了行业痛点,还为通信设备的智能化管理提供了新的解决方案。
1. 技术领先:我们的光开关技术源自多年的光通信研发积累,性能稳定可靠。
2. 定制化服务:可根据客户需求提供定制化解决方案,满足不同应用场景需求。
3. 完善的售后服务:我们提供全方位的技术支持和售后服务,确保客户无后顾之忧。
4. 行业口碑:产品已成功应用于国内多家知名通信运营商的网络中,获得一致好评。
基于光开关的无源倾斜传感器代表了倾斜监测技术的创新方向,它解决了传统传感器依赖电源的痛点,为通信设备的倾斜监测提供了更可靠、更经济的解决方案。广西科毅光通信科技有限公司将继续深耕光通信领域,为客户提供更优质的产品和服务。
如果您对我们的光开关产品或无源倾斜传感器感兴趣,欢迎访问我们的官网http://www.coreray.cn,或直接联系我们的销售团队,获取详细的技术资料和产品报价。我们的专业团队将为您提供一对一的技术咨询和解决方案。