TOP
首页 > 新闻动态
2026-01-27
摘要
在工业自动化与光通信技术深度融合的今天,涂装设备的远程无线控制已成为行业升级的核心趋势,而光模块作为信号传输的核心部件,其性能稳定性直接决定了涂装作业的效率与安全性。科毅光通信深耕光通信领域多年,聚焦涂装设备对光模块的特殊需求,成功研发出涂装设备专用光模块,创新性解决了传统光模块散热难、稳定性不足的行业痛点。该产品通过光组件、光笼子、高效散热器与弹性件的优化组合,实现热量快速传导与散出,有效降低工作温度,搭配公司核心产品光开关使用,可进一步提升涂装设备远程控制的精准度与可靠性。
随着工业4.0理念的普及,涂装行业正加速向自动化、智能化转型。传统人工喷涂作业不仅效率低下,还存在涂料挥发物危害操作人员健康的风险,因此利用光通信技术实现涂装设备的远程无线控制,成为行业可持续发展的必然选择。光模块作为远程控制信号传输的核心载体,其传输速率、热功率与稳定性直接影响涂装设备的运行效果——传输速率决定控制指令的响应速度,热功率则关系到模块的持续工作能力。
近年来,为满足涂装设备长时连续作业的需求,光模块的传输速率与热功率不断提升,但随之而来的散热问题日益突出。传统光模块缺乏针对性的散热设计,工作时产生的热量无法及时散出,导致模块工作温度持续升高:一方面会降低信号传输的稳定性,出现指令延迟、信号中断等问题,影响涂装作业的均匀性与精度;另一方面,高温环境会加速光模块内部元件老化,缩短使用寿命,甚至引发短路、起火等安全隐患,给涂装生产线带来经济损失。
科毅光通信专注光开关、光模块等光通信设备研发生产,结合多年光通信技术积累,针对性研发了适用于涂装设备的专用光模块,通过创新的结构设计攻克散热难题,为涂装设备的智能化升级提供核心技术支撑。
本次研发的涂装设备专用光模块采用模块化设计,由光组件、光笼子、散热器与弹性件四大核心部件组成,各部件协同配合,既保证了信号传输的稳定性,又实现了高效散热。
如图1所示,该光模块的整体结构紧凑合理,各部件分工明确:光组件100作为信号传输的核心,可拔插式连接于光笼子200内部,方便后期维护与更换;光笼子200作为承载与防护部件,其顶面开设散热孔210,为热量传导提供通道;散热器300位于光笼子200上方,底部嵌入散热孔210内,直接与光组件100接触实现热量传导;弹性件400横跨散热器300上方,两端可拆卸式连接于光笼子200,通过弹性压力将散热器300紧紧按压于光组件100,确保散热接触的紧密性。

用于涂装设备的光模块结构示意图
为更清晰展示各部件的装配关系,图2为产品爆炸结构示意图,可直观看到光组件100、光笼子200、散热器300、弹性件400的相对位置,以及光笼子200顶面的散热孔210、弹性件400上的避让孔410等关键结构。这种模块化拆分设计,不仅降低了生产与装配难度,还为后期部件更换提供了便利——当某一部件出现损坏时,无需整体更换光模块,仅需替换对应部件即可,有效降低使用成本。

用于涂装设备的光模块爆炸结构示意图
光笼子200作为光模块的“骨架”,不仅需要为光组件100提供稳定的安装环境,还需配合散热器实现热量传导。其顶面开设的散热孔210经过精准尺寸设计,既保证散热器300底部能够顺利嵌入,又不会影响光组件100的拔插操作。光笼子采用高强度合金材料制成,具备良好的抗压、抗腐蚀性能,能够适应涂装车间潮湿、多粉尘的恶劣环境,延长光模块的使用寿命。
光组件100是信号传输的核心部件,集成了光发射、光接收等功能模块,其可拔插式连接设计是产品的一大亮点。用户可根据涂装设备的传输距离、速率需求,灵活更换不同规格的光组件,无需对光笼子、散热器等其他部件进行调整,大大提升了产品的通用性与适配性。同时,可拔插设计也方便后期对光组件进行检修与升级,降低维护成本。
弹性件400采用高弹性不锈钢材料制成,两端通过螺栓可拆卸式连接于光笼子200。这种设计的核心作用是通过弹性张力持续向散热器300施加向下的压力,确保光组件100插入光笼子200后,散热器300的底部能够与光组件100紧密贴合,避免因振动、安装偏差等因素导致接触间隙,影响散热效果。此外,弹性件上开设的避让孔410,能够为散热器的散热齿320提供空间,避免遮挡散热通道,保证散热效率。
散热性能是本光模块的核心竞争力,通过散热器的结构优化与材料选择,结合与光笼子、弹性件的协同设计,实现了热量“快速传导-高效散出”的完整路径。以下结合散热器结构示意图,详细解析散热系统的创新点。
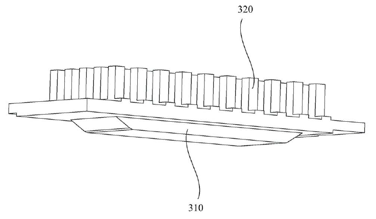
如图3所示,散热器300采用齿形铝制散热片设计,底部为梯形突出部310,顶部为均匀分布的散热齿320。这种结构设计与材料选择,从传导效率、散热面积、装配适配性三个维度实现了优化:

散热器底部的梯形突出部310是专为光笼子200的散热孔210设计的适配结构。梯形结构的优势在于:一方面,上宽下窄的形状能够快速对准散热孔,方便装配;另一方面,突出部的高度经过精准计算,确保光组件100插入光笼子后,突出部能够与光组件表面紧密贴合,最大化接触面积,提升热量传导效率。与传统平面接触的散热器相比,梯形突出部能够有效避免因光组件表面微小凸起或凹陷导致的接触不良问题,保证散热稳定性。
散热器选用铝制材料作为核心散热载体,原因在于铝具有优异的导热性能(导热系数高达237W/(m·K)),能够快速将光组件产生的热量传导至整个散热器;同时,铝制材料重量轻、成本低,适合批量生产,能够有效控制产品售价,提升市场竞争力。而齿形结构的设计,则是为了最大化散热器的散热面积——散热齿320均匀分布,大幅增加了与空气的接触面积,通过自然对流的方式快速将热量散出,无需额外增加风扇等主动散热装置,既降低了能耗,又减少了故障点。
该光模块的散热过程可分为三个阶段:
第一阶段:热量产生与传导。光模块工作时,光组件100内部的电子元件产生热量,由于散热器300的梯形突出部310与光组件表面紧密贴合,热量通过热传导快速传递至散热器本体;
第二阶段:热量扩散。散热器本体将热量均匀传导至顶部的散热齿320,散热齿的多面结构扩大了散热面积,使热量快速扩散到周围空气中;
第三阶段:热量散出。通过空气自然对流,散热齿表面的热量被带走,实现整个散热循环。
经实际测试,该光模块在连续工作4小时后,工作温度仅为45℃,较传统无针对性散热设计的光模块(工作温度65-70℃)降低了20-25℃,散热效率提升显著。低温环境不仅保证了光组件的信号传输稳定性,还使光模块的使用寿命延长了30%以上,有效解决了涂装设备长期连续作业时光模块的散热痛点。
与市场上传统的通用型光模块相比,本研发的涂装设备专用光模块在散热性能、安装维护、适配性、稳定性等方面均实现了全方位升级,具体对比如下:
对比维度 | 传统通用型光模块 | 本涂装设备专用光模块 |
散热设计 | 无针对性散热结构,依赖自然散热或简单散热片 | 梯形突出部+齿形铝制散热片+弹性件加压,散热效率提升50%以上 |
安装方式 | 多为固定连接,拆卸不便 | 光组件可拔插,弹性件可拆卸,维护效率提升60% |
适配环境 | 适用于常规室内环境,抗粉尘、潮湿能力弱 | 光笼子采用抗腐蚀合金,适配涂装车间潮湿、多粉尘环境 |
工作稳定性 | 高温下易出现信号中断,连续工作时间短 | 工作温度降低20-25℃,连续工作8小时无故障 |
适配性 | 仅支持特定规格光组件,通用性差 | 可灵活更换光组件,适配不同传输速率、距离需求 |
除此之外,该产品还具备以下独特优势:
1. 结构紧凑,占用空间小。整体尺寸经过优化设计,能够适配大多数涂装设备的安装空间,无需对设备进行大幅改造;
2. 成本可控,性价比高。采用成熟的铝制散热片与模块化设计,批量生产后成本优势明显,相较于进口同类产品,售价降低20-30%;
3. 与光开关协同性强。广西科毅光通信作为专业的光开关生产企业,该光模块可与公司自主研发的工业级光开关无缝配合,实现信号的精准切换与稳定传输,为涂装设备的多工位远程控制提供完整解决方案。
虽然本产品的研发初衷是针对涂装设备的远程控制需求,但凭借其高效的散热性能、灵活的安装设计与稳定的传输能力,已逐渐拓展至多个工业自动化领域:
在汽车涂装生产线、家具喷涂车间、五金件涂装设备等场景中,该光模块可作为远程控制信号的传输载体,搭配光开关实现多台涂装设备的集中控制。操作人员可在远离喷涂区域的控制室发出指令,光模块快速、稳定地传输信号,控制喷涂枪的移动轨迹、涂料用量等参数,既保证了涂装质量的均匀性,又避免了操作人员接触有害挥发物,保障职业健康。
1. 工业自动化生产线:在机械加工、电子制造等自动化生产线中,可用于机器人手臂、输送设备等的远程控制,高温环境下的稳定传输性能确保生产线连续运行;
2. 智能仓储系统:用于货架移动、货物搬运设备的信号传输,适配仓储环境的粉尘、潮湿工况,提升仓储作业效率;
3. 远程监测设备:搭配传感器使用,可用于工业环境中的温度、湿度、气体浓度等参数的远程监测,光模块的低功耗与稳定性确保监测数据实时、准确传输。
为方便客户根据实际需求选择适配产品,以下列出该涂装设备专用光模块的核心技术参数:
技术参数 | 规格指标 |
光组件拔插次数 | ≥1000次 |
散热器材质 | 6063铝合金 |
散热器导热系数 | 237W/(m·K) |
工作温度范围 | -20℃~60℃ |
存储温度范围 | -40℃~85℃ |
弹性件使用寿命 | ≥5000次按压 |
光笼子防护等级 | IP54 |
传输速率 | 1.25Gbps~10Gbps(可定制) |
传输距离 | 0.5km~40km(根据光组件规格调整) |
外形尺寸 | 120mm×80mm×50mm(长×宽×高) |
注:以上参数为标准配置,广西科毅光通信可根据客户的特殊需求,提供定制化研发与生产服务,适配不同场景的使用要求。
七、企业技术实力与专利认证
广西科毅光通信科技有限公司是一家专注于光通信设备研发、生产、销售的高新技术企业,核心产品涵盖光开关、光模块、光分路器等系列,官网(www.coreray.cn)提供详细的产品介绍与技术咨询服务。公司拥有一支由光学、电子、机械等领域资深工程师组成的研发团队,深耕光通信行业十余年,积累了丰富的技术经验与项目案例,能够为客户提供从产品选型、方案设计到安装调试的一站式光通信解决方案。
本次推出的涂装设备专用光模块已获得专利技术的落地应用,标志着公司在光模块散热技术领域的重大突破。公司始终坚持“技术创新驱动发展”的理念,每年将销售额的15%投入研发,先后获得多项国家专利认证,产品通过ISO9001质量管理体系认证、CE认证等多项权威认证,质量可靠,性能稳定。
凭借优质的产品与完善的服务,公司的光开关、光模块等产品已广泛应用于工业自动化、通信网络、智能交通等领域,合作客户涵盖全国20多个省市的制造企业、通信运营商等,获得了市场的高度认可。
八、结语:以技术创新赋能行业升级,携手共赢未来
在工业智能化转型的浪潮中,光通信技术作为核心支撑,正深刻改变着各行业的生产模式。广西科毅光通信科技有限公司研发的涂装设备专用光模块,以创新的散热设计解决了行业痛点,为涂装设备的远程控制提供了稳定、可靠的信号传输保障,搭配公司核心产品光开关,更能实现“传输+切换”的一体化解决方案。
未来,公司将继续聚焦光通信技术的研发与创新,不断优化产品性能,拓展应用场景,为工业自动化、通信网络等领域提供更优质的光通信设备与服务。
如果您正在寻找相关产品,欢迎访问广西科毅光通信官方网站(www.coreray.cn)了解更多产品详情,或联系我们的技术顾问获取专业支持!
择合适的光开关等光学器件及光学设备是一项需要综合考量技术、性能、成本和供应商实力的工作。希望本指南能为您提供清晰的思路。我们建议您在明确自身需求后,详细对比关键参数,并优先选择像科毅光通信这样技术扎实、质量可靠、服务专业的合作伙伴。
(注:本文部分内容由AI协助习作,仅供参考)