TOP
首页 > 新闻动态
2026-01-23
在光通信技术快速迭代的今天,数据传输速率的不断攀升对光模块的电磁兼容性能提出了前所未有的挑战。作为高速光互连的关键组件,MPO(Multi-fiberPushOn)光模块凭借其多通道、高密度的优势,在数据中心、5G基站等场景中得到广泛应用。然而,光口处的MT头多采用塑料材质,这种结构虽然设计灵活,却也成为电磁辐射的薄弱环节。科毅光通信在深入研究专利技术的基础上,本文将系统剖析MPO光模块的电磁屏蔽结构设计原理及工程实现方案。
电磁干扰(ElectromagneticInterference,EMI)问题在高速光模块设计中日益凸显。当光模块的传输速率从10G、25G向100G、400G演进时,信号频率大幅提升,由此产生的电磁辐射强度呈指数级增长。如果光模块的EMI性能不达标,其辐射出的电磁波可能会对交换机系统、服务器等周边设备产生不良影响,导致通信误码率上升、系统稳定性下降,严重时甚至会造成设备故障。
从测试认证的角度来看,EMI性能已经成为光模块能否成功推向市场的关键指标之一。各类行业标准(如IEEE、Telcordia等)都对光模块的电磁辐射限值做出了明确规定。因此,在设计阶段就充分考虑电磁屏蔽结构,对于提升产品竞争力、降低后期整改成本具有重要意义。
工程提示:在实际应用中,我们建议用户在采购光模块时,除了关注插入损耗、回波损耗等光学参数外,还应重点关注产品的EMC测试报告,确保其在目标应用场景中符合相关标准要求。
MPO类型的光模块由于其特殊的结构特点,在EMI控制方面面临着独特的挑战。MT头通常包含多个光纤通道(常见为12芯、24芯甚至更高),为了实现多通道的精密对准,MT头需要保持一定的机械结构。然而,这些结构往往由塑料材料制成,其导电性较差,无法形成有效的电磁屏蔽。同时,多通道光纤在MT头附近需要一定的弯曲半径和活动空间,这就不可避免地会在光口处形成若干间隙。这些间隙就像一个个"电磁泄漏窗口",让高频信号产生的电磁波能够从光模块内部辐射到外部环境。
更复杂的是,随着光模块集成度的提高,内部空间日益紧凑。要在有限的空间内实现多通道光纤的布设、MT头的安装以及电磁屏蔽结构的设计,需要工程师在结构、材料、工艺等多个维度进行综合考量。传统的单点屏蔽方案往往难以满足现代高速光模块的EMI性能要求,这就需要采用更加系统化、一体化的电磁屏蔽解决方案。
针对MPO光模块光口电磁辐射的问题,专利技术提出了一种创新的电磁屏蔽结构设计思路。其核心在于通过两个相对设置的压块,将光口处的间隙压缩到"理论零间隙"的状态。这一设计巧妙地解决了传统方案中屏蔽不彻底的难题。

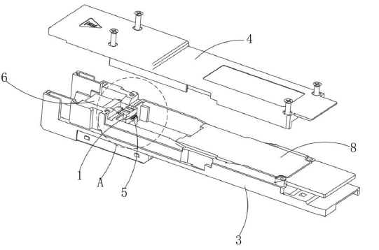
图1 MPO光模块爆炸示意图
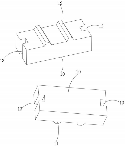
具体而言,这种电磁屏蔽结构由两个呈上下分布的压块构成。这两个压块相对的面被称为"夹持面",其设计理念非常关键——两个夹持面都经过精密加工,成为可互相紧贴的平面。当这两个平面紧密贴合时,它们之间的间隙可以趋近于零,从物理层面切断了电磁波的传播路径。这种设计相当于在光口处构建了一道"电磁防线",将可能泄漏的电磁波牢牢地阻挡在光模块内部。
多通道光纤被夹持在这两个压块之间,通过夹持面的压力固定。与传统的固定方式相比,双压块结构不仅提供了更好的定位精度,还赋予了额外的电磁屏蔽功能。这种一举两得的设计,充分体现了工程设计中的"功能融合"理念。
虽然双压块的设计理念巧妙,但如果压块在光模块内部发生位移或晃动,就无法保持稳定的夹持效果,更谈不上持续的电磁屏蔽性能。因此,工程师在压块上设计了精妙的限位结构,通过与光模块的底座和上盖配合,实现对压块位置的精确定位。

图2 两个压块分离示意图
限位结构的设计体现了机械工程中"凹凸配合"的经典思路。在压块上,设计了若干凸棱和凹槽。这些凸棱可以卡入底座或上盖上的凹槽中,反之,压块上的凹槽也可以容纳底座或上盖上的凸棱。这种双向的卡接设计,使得压块与底座、上盖之间形成了牢固的机械连接。
具体来看,限位结构至少包括以下几种形式:
第一凹槽:设置于压块的侧面,用于容纳底座上的第一凸棱,限制压块在前后方向的位移;
第二凸棱:设置于靠近底座的压块外表面,可卡入底座的第二凹槽中,与多通道光纤的布置方向一致,限制压块的左右摆动;
第三凸棱:设置于靠近上盖的压块外表面,可卡入上盖的第三凹槽中,同样沿着光纤布设方向延伸;
第四凹槽:用于容纳上盖上的第四凸棱,进一步强化定位效果。
在实际工程实践中,根据光模块的具体结构尺寸和装配要求,可以选择其中一种或多种限位结构进行组合。这种模块化的设计思路,使得同一套设计方案能够适配不同规格的MPO光模块产品,提高了工程实现的灵活性和可扩展性。

图3 两个压块分离示意图
压块要实现电磁屏蔽功能,除了结构设计外,材料的选择同样至关重要。从电磁学原理来看,只有具有良好导电性的材料才能有效屏蔽电磁波。因此,压块需要采用能够导电的材料制造。
在实际应用中,压块通常采用以下两种材料之一:
导电橡胶:这种材料兼具良好的导电性和弹性。其导电性来源于掺杂的导电填料(如炭黑、石墨、金属粉末等),而弹性则使其能够在压力下紧密贴合光纤,避免损伤脆弱的光纤纤芯。导电橡胶的邵氏硬度通常在50~70之间,能够在保持夹持力的同时提供一定的缓冲效果。
导电吸波材料:除了导电橡胶,压块也可以采用具有吸波功能的导电材料。吸波材料通过将电磁波的能量转化为热能来衰减电磁波,在屏蔽的同时还能减少电磁波的反射,避免形成二次干扰。这类材料通常包含铁氧体、碳纤维等吸波剂。
广西科毅在工程实践中发现,材料的选择需要根据具体的应用场景进行权衡。对于对成本敏感的应用,导电橡胶是性价比较高的选择;而对于对电磁屏蔽性能要求极高的场景,导电吸波材料则能够提供更优异的屏蔽效果。无论选择哪种材料,都需要确保其机械强度能够满足长期使用的要求,同时其导电性能在产品寿命周期内保持稳定,不会因为材料老化、环境变化等因素而显著下降。
双压块结构虽然能够大幅提升光口的电磁屏蔽性能,但在实际工程中,工程师往往追求极致的屏蔽效果。为此,专利技术提出了"压块+点胶"的复合屏蔽方案,通过两种屏蔽手段的协同作用,进一步消除潜在的电磁泄漏路径。
点胶结构的核心是在光模块的上盖底面和底座内涂覆导电胶,通过导电胶填充结构间隙,实现无缝密封。导电胶通常由环氧树脂、硅胶等基体材料与导电填料(如银粉、镍粉)混合而成,兼具粘接和导电双重功能。当上盖与底座装配后,导电胶在接触面处形成连续的导电层,就像给整个光模块穿上了一件"电磁防护服"。

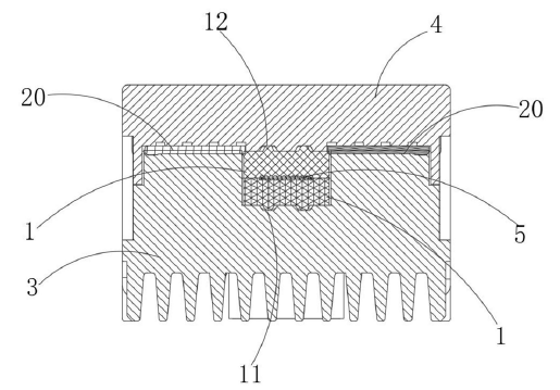
图4 MPO光模块横截面示意图
点胶结构的位置布局经过精心设计。在上盖上,沿着靠近底座的边缘,设置了若干第一齿槽,导电胶点在齿槽中;在底座上,靠近金手指端的位置,设置了若干第二齿槽,一部分沿底座宽度方向布设,另一部分环绕底座的螺钉孔布置。这些齿槽的设计不仅为导电胶提供了合适的存储空间,还通过齿形结构增加了接触面积,提高了屏蔽效能。
屏蔽方式 | 原理 | 优势 | 适用场景 |
双压块结构 | 通过导电压块的平面贴合实现零间隙屏蔽 | 结构简单,易于装配,对光纤无损伤 | 一般应用场景,成本敏感型产品 |
点胶结构 | 通过导电胶填充结构间隙,形成连续导电层 | 屏蔽效果全面,覆盖所有间隙 | 高端应用,对EMI性能要求极高 |
复合屏蔽 | 压块与点胶协同作用,优势互补 | 屏蔽性能最优,可靠性最高 | 关键设备,恶劣电磁环境 |
工艺要点:点胶工艺需要严格控制胶量、胶宽和固化条件。胶量不足会导致填充不完整,胶量过多则可能溢出污染其他部件。广西科毅建议采用精密点胶设备,并建立严格的质量检验标准,确保每次点胶的一致性。
压块和点胶的复合屏蔽方案体现了工程设计中的"冗余设计"思维。当一种屏蔽手段存在潜在失效风险时,另一种手段能够提供备用保护,从而大幅提升系统的整体可靠性。特别是在恶劣的电磁环境或高可靠性要求的应用场景中,复合屏蔽方案能够提供足够的性能余量,确保产品在全生命周期内稳定运行。
除了电磁屏蔽性能,产品的结构强度和装配可靠性同样是工程设计中的关键考虑因素。专利技术在这方面也进行了细致的优化设计。
在上盖的结构设计中,一个重要的优化点是在长度方向上采用变截面设计——中间部位的厚度大于两侧部位的厚度。这种设计看似简单,实则蕴含着深刻的工程考量。

图5 MPO光模块上盖示意图
从材料力学的角度来看,上盖中间部位加厚能够显著提高其抗弯刚度。当上盖与底座通过螺钉装配后,上盖会受到内部部件向上的顶起力,如果刚度不足,就会产生弯曲变形。一旦上盖发生变形,不仅会影响光模块的外观质量,更重要的是会破坏压块的夹持状态,导致电磁屏蔽性能下降,甚至可能造成光纤受力损伤。
通过中部加厚设计,上盖的刚度得到有效提升,能够更好地抵抗内部顶起力,保持平整度。同时,两侧较薄的设计则在保证刚度的前提下控制了重量和成本,体现了"材料用在刀刃上"的设计理念。
前文提到的齿槽设计,除了为点胶提供存储空间外,还兼具其他功能。从加工角度来看,齿槽结构便于点胶时的定位,操作人员可以准确地将导电胶点入指定位置,避免胶液流窜到其他区域。

图6 MPO光模块底座示意图
从屏蔽效果来看,齿形结构增加了导电胶与金属表面的接触面积,导电胶在齿槽中固化后,能够形成更加牢固的机械锁合和电气连接。特别是在螺钉孔周围布置齿槽,能够有效解决螺钉孔附近的电磁泄漏问题,这是传统屏蔽方案中容易被忽视的细节。

图7 MPO光模块底座示意图

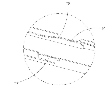
图8 B处放大示意图

图9 B处放大示意图
广西科毅在工程实践中总结出,齿槽的深度、宽度和间距需要根据导电胶的特性进行优化。齿槽过浅可能导致胶液不足,过深则可能造成浪费;间距过密增加加工难度,过疏则可能形成屏蔽盲区。通过DOE(实验设计)方法,可以找到最优的齿槽参数组合,在成本、工艺性和性能之间取得最佳平衡。
将专利技术转化为实际产品,需要经历从设计验证到量产导入的完整过程。在这个过程中,多个环节都需要进行细致的规划和严格的控制。
在产品设计阶段,就需要充分考虑制造工艺的可行性。压块的尺寸精度、公差配合需要与加工设备的精度相匹配;点胶工艺的参数需要在设计阶段就进行验证,避免在量产时才发现工艺瓶颈。广西科毅建议在DFM阶段引入供应商早期参与,充分利用供应链的专业能力,优化设计方案的可制造性。
电磁屏蔽性能的评估需要建立完善的测试体系。除了常规的光学性能测试外,还需要进行EMC测试,验证产品在实际使用环境中的电磁兼容性。广西科毅建议建立分层测试体系,包括来料检验(IQC)、过程检验(IPC)和出货检验(OQC),每个环节都有明确的测试标准和接受准则。
产品需要在各种环境条件下长期稳定运行。因此,需要进行温度循环、湿热测试、振动测试等一系列可靠性试验,验证屏蔽结构的长期稳定性。特别是导电材料的老化特性、导电胶的蠕变特性等,都需要通过长时间的可靠性测试来评估。
广西科毅建议:在可靠性测试中,应重点关注屏蔽性能随时间的衰减情况。建议在高温高湿、温度冲击等极端条件下进行加速老化测试,推算产品在正常使用条件下的寿命,为客户提供可靠的质量承诺。
MPO光模块及其电磁屏蔽技术,在多个行业领域都有广泛的应用前景。广西科毅作为专业的光通信器件供应商,持续关注市场需求变化,为客户提供优化的解决方案。
随着云计算、大数据、人工智能等技术的快速发展,数据中心对光互联的需求呈爆发式增长。超大规模数据中心内部部署了数以万计的服务器,需要大量的高速光模块进行数据交换。在这样的环境中,电磁干扰问题尤为突出。采用具有良好屏蔽性能的MPO光模块,能够有效降低设备间的相互干扰,提升数据中心的整体运行效率。
5G基站的密集部署对光通信器件的需求大幅增加。同时,6G技术的研发已经提上日程,未来将对高速光互连提出更高的要求。在基站前传、中传、回传等环节,MPO光模块都有广泛应用。基站环境复杂,电磁干扰源多,良好的屏蔽性能是确保通信质量的关键。
超级计算机、AI训练集群等高性能计算系统,需要处理海量的数据传输任务。这些系统对光模块的带宽、延迟、可靠性都有极高要求,同时也不可避免地面临电磁兼容挑战。广西科毅提供的高性能光模块产品,已经应用于多个高性能计算项目中,其优异的屏蔽性能得到了用户的高度认可。
如果您正在寻找相关产品,欢迎访问广西科毅光通信官方网站(www.coreray.cn)了解更多产品详情,或联系我们的技术顾问获取专业支持!
择合适的光开关等光学器件及光学设备是一项需要综合考量技术、性能、成本和供应商实力的工作。希望本指南能为您提供清晰的思路。我们建议您在明确自身需求后,详细对比关键参数,并优先选择像科毅光通信这样技术扎实、质量可靠、服务专业的合作伙伴。
(注:本文部分内容由AI协助习作,仅供参考)