TOP
首页 > 新闻动态
2025-12-26
在当今高速发展的光通信网络中,光开关、光纤跳线作为核心连接与控制元件,广泛应用于数据中心、智能电网、5G基站以及工业自动化系统中。随着网络规模不断扩大,如何实现对光纤链路的高效检测、精准定位和不停机维护,已成为行业运维人员面临的重要挑战。
近日,我们深入研究了一项国家发明专利——《光纤跳线、光纤跳线测试工具以及测试方法》,并结合自身在光通信设备领域的研发经验,对该技术进行了深度解读与优化适配,旨在为客户提供更智能、更高效的光纤管理解决方案。
一、传统光纤跳线检测方式的局限性
在传统的光纤布线系统中,当需要识别某一条特定的光纤跳线时,通常采用“断连发光法”:即从设备端口拔下跳线一端,接入可见光源(如红光笔),通过观察另一端是否出光来判断通路关系。
这种方法虽然简单直观,但存在明显弊端:
中断业务传输:拔出正在运行的光纤会导致通信链路中断,影响系统稳定性;
操作繁琐耗时:尤其在密集布线环境中,逐条排查效率极低;
易造成误插或损坏接口:频繁插拔增加人为失误风险;
无法远程确认:缺乏可视化反馈机制,难以实现快速定位。
特别是在电力系统、金融交易、医疗影像等对连续性要求极高的场景中,这种“停机检测”的模式已越来越不被接受。
因此,开发一种无需中断信号即可完成跳线识别的新一代测试技术,成为行业迫切需求。
二、新型光纤跳线结构设计:让检测“无感化”
根据国家知识产权局公布的发明专利CN112444919A,由中国南方电网超高压输电公司广州局团队提出的一种创新型光纤跳线结构,成功解决了上述难题。
核心结构亮点如下:
1. 内置塑料光纤+双向耦合点设计
· 在常规石英光纤本体的保护层内,额外包埋一根塑料光纤(PlasticOpticalFiber,POF);
· 塑料光纤在跳线两端的补强部处弯折180°,形成两个对称的光纤耦合点;
· 耦合点位于补强部远离连接头的一侧,方向朝外,便于外部检测设备接入。
优势说明:
塑料光纤具有良好的可见光传输特性,尤其适合绿光/红光传播;而将其弯折引出形成耦合点,使得外部光源可在不接触主信号通道的前提下进行耦合激励,真正实现“带电检测”。
2. 补强部结构优化(圆台状设计)
· 补强部位采用圆台状结构(见图2),增强机械强度的同时,也为后续专用检测器提供精准定位基准;
· 避免因结构松动导致耦合失效,提升长期使用的可靠性。
3. 保护层材料多样化选择
· 保护层可选用透明、半透明或不透明塑料材料;
· 若使用透明护套,整条跳线在检测时会呈现均匀发光效果,视觉辨识度极高;
· 若为不透明护套,则仅在两端耦合点处可见光点,适用于高保密性环境。
此设计充分体现了灵活性与实用性兼顾的理念,可根据不同应用场景灵活选型。
三、配套测试工具:专为“非侵入式检测”而生
仅有特殊结构的跳线还不够,还需匹配专用的光纤跳线测试工具才能发挥最大效能。该专利同步公开了一款高度集成化的检测装置,主要由三部分组成:
检测器(圆柱状主体)
测试线(塑料尾纤)
可见光发生器(建议使用绿光)
工作原理详解:

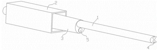
光纤跳线立体结构示意图
如上图所示,检测器端面设有内凹的卡接腔,包含:
检测端(中央区域)
卡接套(环绕周向)
避让槽(轴向开槽,用于容纳主光纤本体)
具体操作步骤如下:
1. 对准安装:将检测器的卡接腔对准跳线任一端的补强部,避让槽覆盖光纤本体;
2. 旋转锁定:以光纤为中心旋转检测器,并施加轴向压力,直至卡接套完全套入补强部;
3. 自动耦合:此时内部的测试耦合点与跳线上的光纤耦合点实现物理贴合;
4. 启动光源:打开绿光发生器,光线经测试线→塑料光纤→另一端耦合点输出。
关键创新点:
卡接结构的设计实现了“机械自锁+光学耦合同步完成”,只要能顺利套入,就代表光路已正确建立,极大降低了操作门槛。

图2:光纤跳线测试工具立体图
此外,测试线采用标准塑料尾纤,其连接头可直接与绿光发生器输出端对接,无需定制转换模块,提升了通用性和便携性。
四、为何推荐使用“绿光发生器”?
在可见光谱中,人眼对波长约为532nm的绿光最为敏感,且绿光在塑料光纤中的衰减最小,传输距离最远。
实验数据显示,在相同功率下,绿光在POF中可稳定传输超过100米,远优于红光(650nm)或其他颜色光源。这对于大型机房、跨楼层布线等长距离场景尤为重要。
因此,该专利明确指出:“可见光发生器优选为绿光发生器”,这也是我们在推广此类测试方案时强烈建议客户采纳的技术细节。
五、真实应用场景解析
这项技术不仅停留在理论层面,已在多个领域展现出巨大应用潜力:
场景一:智能电网运维
南方电网作为该专利的申请人之一,正是看中其在高压变电站二次系统中的实用价值。站内大量继电保护光纤回路常年处于运行状态,传统检测方式极易引发误动作。而采用该新型跳线+检测工具组合后,运维人员可在不停机情况下快速定位故障链路,显著提升响应速度与安全性。
场景二:数据中心跳线管理
在万兆级数据中心中,成千上万条光纤交织在一起。每当新增服务器或调整拓扑时,都需要精确识别对应跳线。借助该技术,管理员只需在一端接入检测器,另一端即可看到明显的绿色光斑,配合手机拍照记录,轻松完成配线核对。
场景三:轨道交通信号系统
高铁列控系统依赖高可靠性的光纤通信网络。由于列车运行期间严禁中断信号,因此必须采用非中断式检测手段。该技术完美契合这一需求,已被多家轨道交通设备商纳入下一代车载通信模块设计方案。
六、与光开关系统的融合展望
作为一家专注于光开关产品研发与制造的企业,广西科毅光通信科技有限公司敏锐地意识到:这项新型光纤跳线检测技术,未来有望与我们的MEMS光开关、机械式光开关等产品深度融合,构建更加智能化的光网络管理系统。
设想如下场景:
将检测用的塑料光纤与主控MCU相连;
当系统发出“寻线指令”时,自动触发绿光脉冲;
结合摄像头或光电传感器阵列,AI算法可实时识别亮灯跳线位置;
最终在监控平台上以高亮形式显示路径走向,实现“一键找线”。
这不仅是对人工巡检的替代,更是迈向全光自动化运维的关键一步。
我们目前正在开展相关预研工作,计划在未来两年内推出首款支持“智能发光识别”的可编程光开关矩阵系统,敬请期待!
七、技术优势总结
项目 | 传统方式 | 本专利方案 |
是否中断业务 | 是 | 否 |
操作难度 | 中等偏高 | 极低 |
定位准确性 | 依赖经验 | 视觉直出 |
适用环境 | 简单布线 | 密集复杂 |
扩展潜力 | 有限 | 可接入智能系统 |
六大核心优势归纳:
1. 免中断检测:全程无需拔插主光纤,保障业务连续性;
2. 即插即测:卡扣式结构设计,普通人也能快速上手;
3. 双向可视:两端均可作为检测起点,提升灵活性;
4. 结构紧凑:无外露引线,外形与普通跳线几乎一致;
5. 兼容性强:支持LC、SC、FC等多种接口类型;
6. 易于推广:原材料成本增加有限,适合规模化生产。
择合适的光开关等光学器件及光学设备是一项需要综合考量技术、性能、成本和供应商实力的工作。希望本指南能为您提供清晰的思路。我们建议您在明确自身需求后,详细对比关键参数,并优先选择像科毅光通信这样技术扎实、质量可靠、服务专业的合作伙伴。
如果您对磁光开关产品有需求,或想了解更多光通信相关产品信息,访问广西科毅光通信官网www.coreray.cn浏览我们的光开关产品,或联系我们的销售工程师,获取专属的选型建议和报价!
(注:本文部分内容由AI协助习作,仅供参考)