TOP
首页 > 新闻动态
2025-12-23
在全光网络与光纤通信系统中,光开关实现光路交换、选路与调度的核心器件,其性能直接影响着网络的灵活性与效率。传统光开关往往面临体积大、功耗高、响应慢以及与光纤系统集成困难一直难以攻克。广西科毅光通信科技有限公司(www.coreray.cn)深耕光电器件领域,并基于前沿专利技术研究出新型产品——光纤集成电光开关,率先将其转化为具备高性能与高性价比的实用化产品。
光纤网络的核心瓶颈与我们的解决思路
传统机械式光开关或MEMS光开关虽然技术成熟,但存在运动部件、响应速度受限(通常在毫秒级)、且难以实现高度集成化。热光开关功耗较大,液晶光开关则存在温度敏感性高的问题。在追求超低延迟、超高密度集成的数据中心互连(DCI)和5G前传/回传网络中,市场亟需一种结构紧凑、响应快速、驱动简单且能与光纤无缝对接的新型光开关。
针对这一需求,我们的技术团队并聚焦于利用铌酸锂晶体(LiNbO₃)卓越的电光效应来开发解决方案。铌酸锂晶体被誉为“光学硅”,具备电光系数大、物理化学性质稳定、光学透明窗口宽、易于制成高质量薄膜等突出优点,是制作高速光调制器、开关的理想材料。
我们的核心思路是:将铌酸锂薄膜与经典的光纤法布里-珀罗(F-P)干涉腔结构相结合,创造一种全新的光纤集成光开关。这种设计巧妙地将电光调制与光学谐振效应融合,通过纯电学信号控制光学信号的“通”与“断”,实现了器件的小型化、快速响应和与光纤系统的原生兼容。
核心技术原理:电光调谐的法珀腔
我们的光纤集成光开关,其核心是一个由两根端面镀有高反射膜的光纤相对放置形成的微型F-P腔。光在两面反射膜之间发生多次反射干涉,只有当光波长满足谐振条件时,才能以极高的效率透过该腔体。这一透射谱对腔长的变化极其敏感。
专利技术的精髓在于,在F-P腔内(或反射膜上)集成了一片超薄的铌酸锂晶体薄膜,并使其精确覆盖光纤的纤芯区域。当我们在这片薄膜的两侧施加一个电压时,基于铌酸锂的线性电光效应(普克尔斯效应),其折射率会随外加电压发生线性改变。
折射率的改变,直接等效于光学F-P腔的物理腔长发生了改变。如此一来,整个腔的谐振波长便会发生偏移。对于一束固定波长的入射光,我们只需通过调节施加在铌酸锂薄膜上的电压,就能控制该波长是否处于腔的谐振峰上:
当处于谐振峰时,光强透过率最大,开关处于“开”状态。
当偏离谐振峰时,光强透过率最小,开关处于“关”状态。
这个过程完全由电压控制,无任何机械运动,理论响应速度可达纳秒级,功耗极低,且结构极为紧凑,真正实现了“以电控光”。
产品结构设计与制造工艺
我们的产品设计充分考虑了可靠性、易制造性和高性能。以下是基于专利的几种典型结构实现方式,展现了我们在光开关制造领域的工艺灵活性。
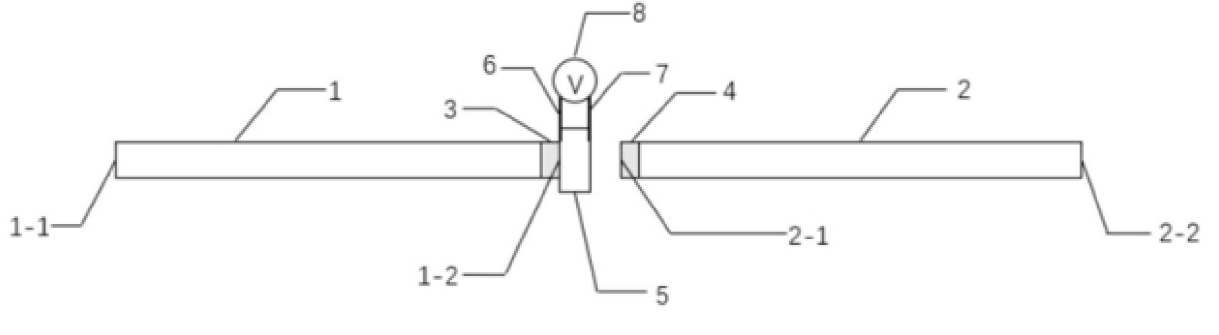
结构一:薄膜集成式
此结构中,铌酸锂晶体薄膜直接贴合在入射光纤的端面反射膜上。微电极(如采用导电性优异的碳纳米管纺丝)直接制作在薄膜的上下表面,并与外接驱动电源连接。这种结构集成度最高,电场直接施加于工作介质,效率突出。

图1 薄膜集成式结构示意图
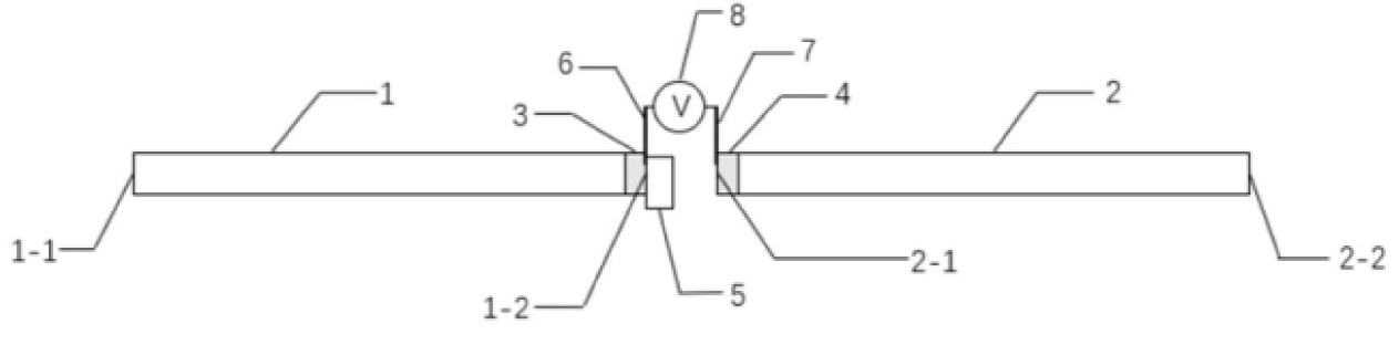
结构二:光纤包层电极式
在这一设计中,为了简化薄膜加工和电极制作工艺,我们将驱动电极制作在两根光纤相对端面的包层区域。电源正负极分别连接入射和出射光纤的包层电极,从而在光纤间隙(即F-P腔)中形成跨越铌酸锂薄膜的纵向电场。这种设计降低了薄膜本身的加工要求,提高了工艺容差。

图2 光纤包层电极式结构
结构三:基板稳固集成式
对于需要极高稳定性的应用,我们采用玻璃基板作为整个F-P腔的支撑骨架。两根光纤先精密对准形成腔体,并固化在基板上。随后,将已制作好电极的铌酸锂晶体薄膜精准放置在腔内并固定。这种结构机械稳定性最好,抗环境干扰能力强,适用于恶劣工况。

图3 基板稳固集成式结构
我们的制造流程融合了精密光纤处理、薄膜集成和微装配技术:
1. 精密端面处理:对标准通信光纤端面进行超精研磨抛光,并镀制由SiO₂/Ta₂O₅等材料构成的高质量、低损耗反射膜堆。
2. 薄膜集成:采用紫外固化胶等工艺,将定制化的铌酸锂晶体薄膜精确粘附于指定位置,确保完美覆盖纤芯光路。
3. 微电极制作:通过磁控溅射或特殊工艺在指定区域形成微米级电极。
4. 精密对准与封装:在六维高精度对准平台上,利用V型槽和压电驱动器将两根光纤进行亚微米级对准,形成优化的F-P腔,随后进行坚固封装。
光纤集成光开关产品优势与应用前景
超高集成度与小型化:器件主体即为光纤本身,体积远超传统分立器件,非常适合高密度光通信板卡和模块。
快速电光响应:基于铌酸锂的电光效应,开关状态切换速度可达纳秒至微秒级,满足未来高速光交换需求。
低驱动电压与功耗:利用谐振增强效应,可用相对较低的电压实现高的消光比,系统功耗显著降低。
极低的插入损耗:光纤到光纤的直接耦合方式,避免了复杂的光路耦合,插损远低于多数空间光开关。
出色的可靠性:全固态设计,无移动部件,抗震动、抗冲击,寿命长。
成本效益高:材料(如铌酸锂)资源丰富,工艺可与现有光纤器件产线兼容,利于大规模生产降本。
光纤集成光开关产品应用领域:
光网络交换与保护:用于光纤通信线路、城域网/DWDM系统中的光路倒换和保护开关。
传感系统:在光纤传感网络中,用于信号选通和多点监测。
测试与仪器:作为可编程光衰减器或光路选择器,集成于光测试设备中。
国防与科研:用于激光系统、量子光学实验中的快速光路控制。
将先进的学术专利转化为成熟、可靠的商用产品,是我们的核心能力之一。我们推出的这款基于铌酸锂薄膜和光纤F-P腔的电光开关,不仅代表了一种创新的技术路径,更是我们为解决客户在光开关领域面临的实际挑战而提供的切实答案。
我们坚信,这种高性能、高集成度的光纤集成光开关,将成为构建下一代敏捷、高效、紧凑型全光网络的关键基石。广西科毅光通信期待与业界伙伴合作,共同推动光通信技术的发展与革新。
择合适的光开关等光学器件及光学设备是一项需要综合考量技术、性能、成本和供应商实力的工作。希望本指南能为您提供清晰的思路。我们建议您在明确自身需求后,详细对比关键参数,并优先选择像科毅光通信这样技术扎实、质量可靠、服务专业的合作伙伴。
访问广西科毅光通信官网www.coreray.cn浏览我们的光开关产品,或联系我们的销售工程师,获取专属的选型建议和报价!
(注:本文部分内容由AI协助习作,仅供参考)